什么是注册邀请码插件:Ashuwp invitaion code?
BAW Easy Invitation Codes插件是一款wordpress注册邀请码插件,通过该插件可以实现生成邀请码,只要输入邀请码才可以注册会员。
注册邀请码插件:Ashuwp invitaion code功能
可以单个添加邀请码;
可以批量生成邀请码;
可以设置每个邀请码的使用次数;
可以统计邀请码使用的次数;
可以设置提示文本;(例如:怎么获取邀请码?)
一、下载、安装、启动“注册邀请码插件:Ashuwp invitaion code”
下载、安装这个都很简单,稍微懂点wordpress的人都知道,方法也很多。
我这简略的只说一种方法:只需要在网站后台 – 插件 – 安装插件中搜索Ashuwp invitaion code后在线安装。
或者去官方插件下载地址:https://wordpress.org/plugins/ashuwp-invitaion-code/
启动插件我就更不用说了,这个太简单了。
只要你启动了Ashuwp invitaion code插件,再点击注册(URL链接:你的域名/wp-login.php?action=register),就会出现如下效果:

是不是这样就完成了呢?当然不是,请继续往下面看插件设置教程。
二、注册邀请码插件:Ashuwp invitaion code使用教程
这个也很简单,邀请码只有三个选项功能,分别是邀请码、添加、Options(选项)。

1、在网站后台左侧的“邀请码”选项卡中点击“添加”,进入邀请码生成界面:
前缀:邀请码前面的部分,不设置留空;
长度:邀请码的长度
数量:生成的邀请码数量
使用次数:邀请码使用次数限制
过期时间:生成的邀请码的过期时间,时间格式是YYYY-MM-DD H:i(即年月日时分,如2019-04-25 20:00)
2、设置完成后,点击Generate Now生成邀请码,出现以下提示,表示生成成功:

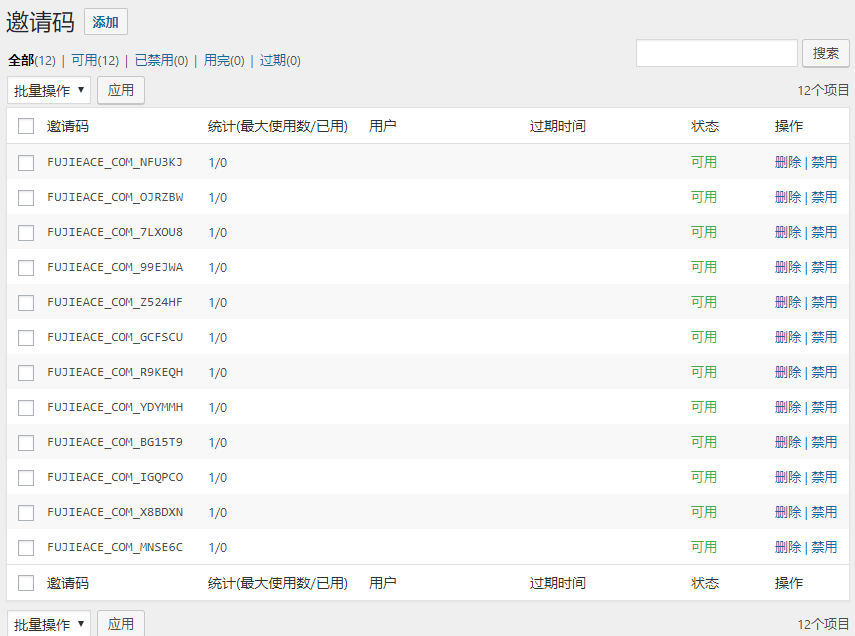
3、生成的邀请码可以在“邀请码选项卡“下的“邀请码”里查看,在这里可以查看邀请码的使用次数、使用的用户、过期时间,或者对邀请码进行禁用删除。

4、最后一步就是在“邀请码选项卡“下的“Options”(选项)里设置,如果不懂英文就翻译,也很简单,不难,此操作看你自己是否需要?下图是我设置的示例及最终效果:
“邀请码 – Options ”设置示例:,a标签的URL你可以随意替换。

最终效果:

感谢您的来访,获取更多精彩文章请收藏本站。


















暂无评论内容